
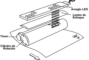
La tecnología LED nos da como resultado de impresión alta calidad ya sea en blanco y negro o color. La imagen se transfiere al tambor de imagen fotosensible mediante una unidad lineal que se conforma de miles de diodos luminosos (el número de diodos depende de la resolución del dispositivo). Después los diodos cargan electrostáticamente la superficie del tambor de imagen iluminándola.
En este proceso el tambor gira, y el tóner se adhiere a los sectores cargados eléctricamente. Entonces el tóner queda fijado por el calor y presión, mientras que el toner que sobra se desprenda gracias a una lámina y es recogido en el cartucho de tóner.
OKI desarrolló la tecnología de diodos de emisión de luz para lograr un sistema más sencillo y confiable. Los sistemas láser dependen de elaboradas combinaciones de espejos y lentes rotatorios que deben permanecer alineados durante su uso, en cambio la tecnología LED utiliza el diodo de emisión de luz como una fuente de luz dentro del aparato. Aquí el cabezal es rígido, la barra de LED abarca todo el ancho de la página y crea la imagen en el tambor de impresión.
Esto también permite que el camino del papel sea más recto, evitando que se atore inclusive cuando utilizamos etiquetas o muchas hojas, también OKI garantiza sus piezas por largos periódos ya que están seguros de que no se dañan o desgastan con facilidad.

La trasmisión de imagen se realiza mediante diodos emisores de luz y el recorrido del papel es plano bajo el tambor, ahorrando tiempo de impresión.
El proceso de XEROX presenta mejoras que son relevantes sobre todo en el arreglo de diodos emisores de luz ya que estamos hablando de más de 14000. Cuenta con tecnología autoenfoque, produciendo imágenes de alta resolución y además gracias a esto se han diseñado modelos más pequeños que los iniciales.
Las impresoras XEROX con la nueva tecnología LED son mecánicamente más sencillas y económicas, su tamaño es menor y su desempeño es silencioso, ecológico y confiable lo que las hace un dispositivo ideal para oficinas.
En la siguiente imagen podemos apreciar las líneas blancas en el producto láser, así como los bordes blancos en la letra M, donde la serie 7400 ajusta esta deficiencia mostrándonos un registro de color de mayor calidad.


Los consumibles que utilizan las impresoras LED son conocidos como tóner, los cuales consisten en tinta en polvo que a través del proceso de impresión se plasman en la hoja de papel mediante presión y calor adecuados.
Los tóner los podemos encontrar en diversos colores, los comunes utilizados son Negro, Cian, Magenta y Amarillo.
Es preciso recomendar que utilice los consumibles originales para su equipo, ya que están diseñados especialmente para obtener el mejor rendimiento, duración, confiabilidad y además el correcto funcionamiento de sus equipos dependerá de utilizarlos como el fabricante lo indica.
Por ejemplo las impresoras BROTHER requieren de un tamaño de partículas de tóner, granulación y pigmentación de color, ya que tienen un impacto directo en las imágenes para obtenerlas con precisión y sin granos. Es por esto que el tóner BROTHER está formulado para obtener dicho resultado.
Es así como podemos mencionar a todas aquellas marcas reconocidas mundialmente en la fabricación de productos de impresión, quienes nos recomiendan hacer el uso adecuado de los consumibles. Estudios científicos han demostrado la calidad de un consumible original, y el de un genérico. Donde obviamente los consumibles genéricos demuestras que sus estándares de calidad dejan mucho que desear, proporcionando la mitad o menos en rendimiento y dañando seriamente nuestros equipos de impresión.
Otro aspecto importante que queremos mencionar es el correcto reciclaje de los tóners vacíos, ya que contienen materiales que no son biodegradables y contribuyen a la contaminación del medio ambiente, cuidemos el planeta tomando acciones al respecto.

Las impresoras LED son dispositivos que producen impresiones de alta calidad, mediante un haz de luz emitido por diodos, los cuales pasan carga al tambor y después el tóner es depositado en el papel para quedarse permanentemente. Dentro de esta categoría de impresoras podemos encontrar diferentes modelos, los que podemos dividir de la siguiente forma:

En esta categoría encontramos gran variedad de multifuncionales tanto en blanco y negro, como de impresión a color. La ventaja de estos dispositivos radica como su nombre lo dice en que no solamente nos ayuda en la impresión de documentos sino que también nos permite realizar tareas de copiado, escaneo, etc.
Estos dispositivos son una maravilla ya que algunos modelos nos permiten realizar trabajos profesionales de impresión, se puede programar de manera que no es necesario mantenerse ahí durante el proceso, existen herramientas de engrapado y hasta doblaje. Encontramos marcas como Brother, Oki y Xerox que nos proporcionan multifuncionales de excelente calidad y a un precio muy accesible.

Estos dispositivos tienen gran ventaja en cuanto a su tamaño, sus dimensiones son menores gracias la tecnología que utilizan, debido a que no necesita de un láser, espejos, etc. Esto repercute de forma directa en el tamaño del dispositivo. El tamaño de los cabezales prácticamente se reduce a la mitad, por lo tanto el chasis de las impresoras es más pequeño, en oficinas muy pequeñas o incluso en el hogar esto es muy valorado ya que ayuda a poder colocarlas en sitios reducidos.
Aunque también dependiendo las múltiples funciones que el dispositivo de impresión pueda realizar, su tamaño puede ser mayor ya que contará con aditamentos especiales como bandejas de alimentación de hojas más grandes, bases de desplazamiento, etc.

La resolución de las impresoras LED se mide en DPI (puntos por pulgada), esto lo podemos entender de la siguiente manera, cuanto más grande sea el número de DPI’s, mejor será la calidad de la imagen impresa o mejor dicho será más clara y nítida la impresión.
Al momento de elegir la impresora adecuada a nuestras necesidades, podemos decidir dependiendo de las funciones que vayamos a realizar. En general estos dispositivos se diferencian pos su mejorada resolución en comparación a las impresoras láser, por lo que cualquier dispositivo con esta tecnología nos proporcionará resoluciones de alta calidad.

La velocidad de impresión de una impresora láser, se considera en dos aspectos principales: velocidad PPM (Páginas por minuto) y el tiempo que la impresora utiliza para imprimir la primera página. En el caso de que tengamos que imprimir cientos de páginas, debemos tomar en cuenta adquirir un dispositivo de impresión que sea más veloz que uno estándar ya que en estas circunstancias podríamos pasar de alrededor de una hora de impresión a tan solo unos minutos.
Como lo mencioné anteriormente esto tiene que ver con la carga de trabajo que se pretenda cubra el equipo que vamos adquirir, si el caso de imprimir cientos de páginas es esporádico, este aspecto no debe preocuparnos demasiado.
En grandes empresas siempre ha sido muy importante contar con dispositivos de impresión que sean capaces de conectarse a una red para que múltiples usuarios tengan el acceso a su servicio, este recurso lo podemos encontrar en algunas impresoras y en centros de trabajo de impresión, que además de proporcionarnos la conectividad necesaria cuentan con múltiples funciones que facilitan nuestros trabajos de impresión y que además le dan un toque distintivo de profesionalismo.
Existen impresoras que cuentan con la conexión a red con cable y también conexión inalámbrica por lo que nos da la libertad de elegir entre las dos opciones para conectarnos.


Existen dispositivos de impresión que por sus capacidades de producción es conveniente cuenten con mayor capacidad de memoria RAM, esto permite que el performance del dispositivo se vea mejorado. Cada dispositivo de impresión ya cuenta con cierta capacidad de memoria que se encarga de la administración de la cola de impresión, por lo tanto a mayor capacidad de memoria, mejor y más capacidad de recepción de trabajos en cola mantiene nuestro dispositivo.

Otro aspecto importante es saber el tamaño de papel que vamos a utilizar para realizar nuestras impresiones, este aspecto es muy relevante y depende en gran parte de ello elegir el dispositivo de impresión adecuado, en las impresoras LED podemos encontrar aquellas que imprimen desde el tamaño carta que es el más común hasta diversos tamaños como oficio o legal, doble carta, etc.
Los ciclos de trabajo de cualquier impresora se refiere a la capacidad del dispositivo en número de impresiones por mes, según los estándares bajo los cuales se probó el producto, este dato nos indica la capacidad que tiene cada dispositivo de impresión de realizar el número indicado de impresiones al mes con el rendimiento adecuado y buena calidad.
Esta especificación es muy importante, ya que dependiendo de nuestras necesidades de impresión, debemos elegir la impresora que nos proporcione el rendimiento adecuado en número de impresiones promedio por mes, esto nos ayudará a mantener en buen estado nuestro dispositivo de impresión y además contar con trabajos de impresión de calidad.


Actualmente las impresoras LED cuentan con modelos que son accesibles a cualquier usuario, aunque debemos aclarar que siguen existiendo modelos especializados como los centros de trabajo de impresión que si requieren de mayor inversión para adquirirlos.
Otro aspecto importante a mencionar es el costo en los consumibles, es invariable que las impresoras LED proporcionan un mejor rendimiento en número de impresiones con los tóner. El desempeño en comparación con las impresoras de inyección de tinta es muy marcado, ya que estos consumibles nos dan miles de impresiones en cada unidad.
La última palabra la tiene usted, deberá realizar un análisis profundo de las necesidades a cubrir, número de impresiones que en promedio se hacen por mes, si requiere de una buena calidad de resolución o simplemente imprimen texto, en fin todos los aspectos propios al desempeño de la impresora y entonces de las opciones adecuadas en cuanto modelos, decidir cuál de todos será el afortunado en ir a brindarle sus servicios.
Adquirir un dispositivo de impresión LED nos proporcionará mejor resolución ya que nos proporciona impresiones de alta definición en todo momento, la tecnología es amigable con el medio ambiente reflejado en el consumo energético ya que la temperatura del fusor se reduce y permite ahorrar energía y por lo tanto pagar menos. Su tamaño es menor, por lo que no tenemos que preocuparnos por el lugar en donde vayamos a ubicar nuestra impresora y además el servicio que nos proporciona es muy confiable.
Actualizado el: 17/03/2016